32030000 XX Talis Смеситель для раковины, с двумя рукоятками
Смеситель для раковины Hansgrohe Talis с двумя рукоятками — это классическое решение для ванной комнаты, сочетающее в себе немецкое качество и проверенную временем конструкцию. Модель 32030000 XX из серии Talis создана для установки на раковину-чашу и станет надежным элементом вашего интерьера.
Изготовленный в Германии из прочной латуни, этот смеситель гарантирует долгий срок службы. Производитель подтверждает это официальной гарантией сроком на 5 лет. Двухвентильная система управления позволяет с легкостью и высокой точностью регулировать температуру и напор воды.
В основе надежной работы смесителя лежит керамический картридж, известный своей износостойкостью и плавным ходом. Для дополнительного комфорта и экономии воды излив оснащен аэратором, который обогащает струю воздухом. Технология защиты от известкового налета упрощает уход, помогая сохранять первоначальный блеск поверхности.
Ключевые особенности смесителя:
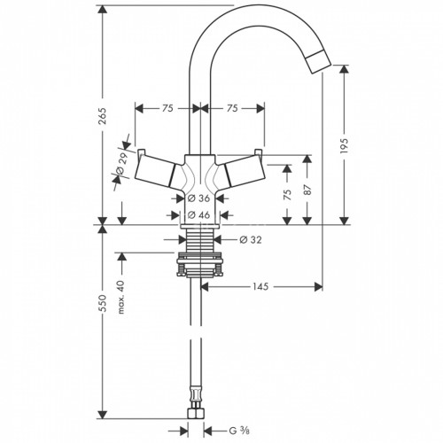
- Высота конструкции — 26,5 см, а высота излива — 19,5 см, что обеспечивает удобное пользование раковиной.
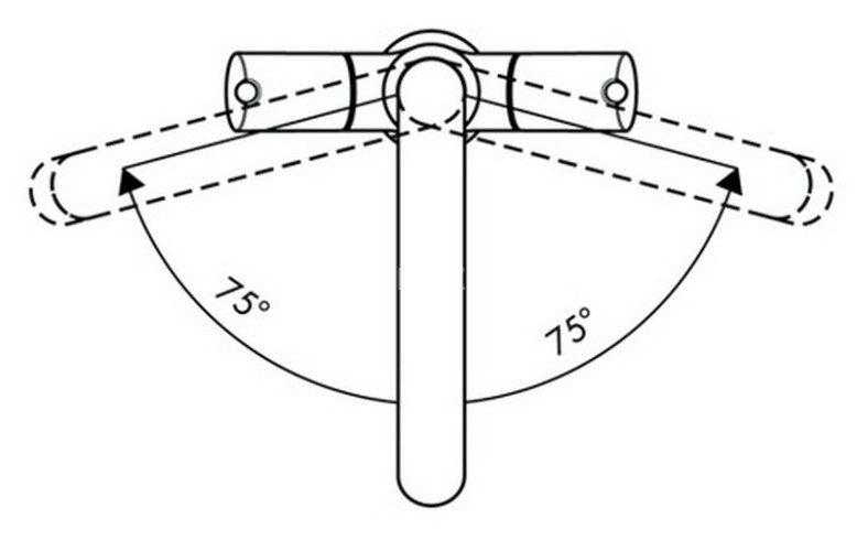
- Поворотный излив повышает функциональность умывальника.
- Монтаж осуществляется в одно стандартное отверстие на раковине или столешнице.
- Подводка воды обеспечивается гибкими шлангами диаметром 3/8".
- В комплектацию входит донный клапан для раковины.
Этот смеситель — образец сдержанной элегантности и продуманной инженерии. Мы осуществляем доставку во все регионы. Установка изделия проста и может быть выполнена как самостоятельно, так и с помощью специалиста.





































































































































































































































































































































